1
/
of
1
Volvo
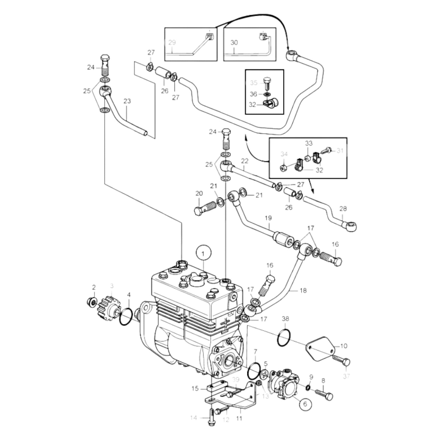
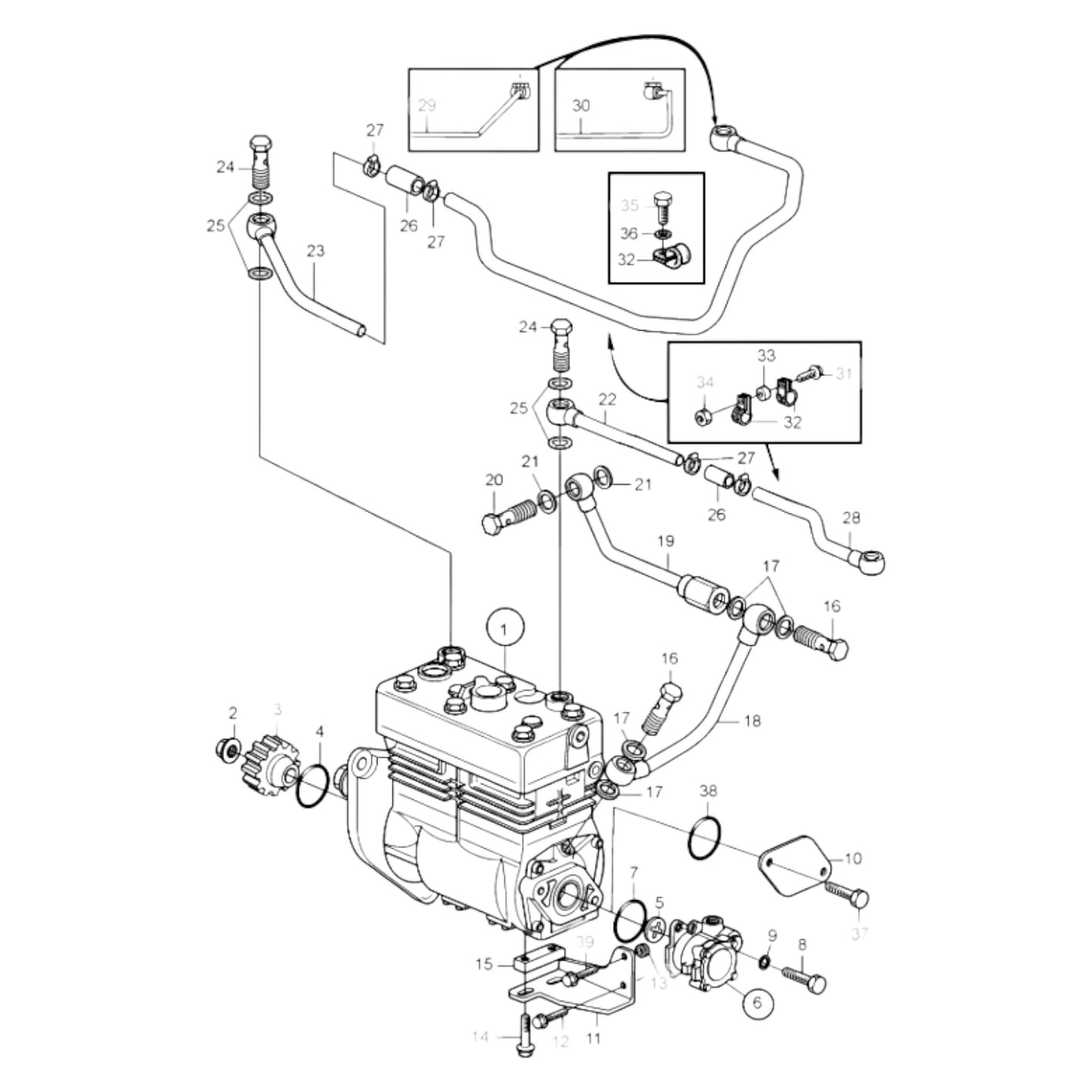
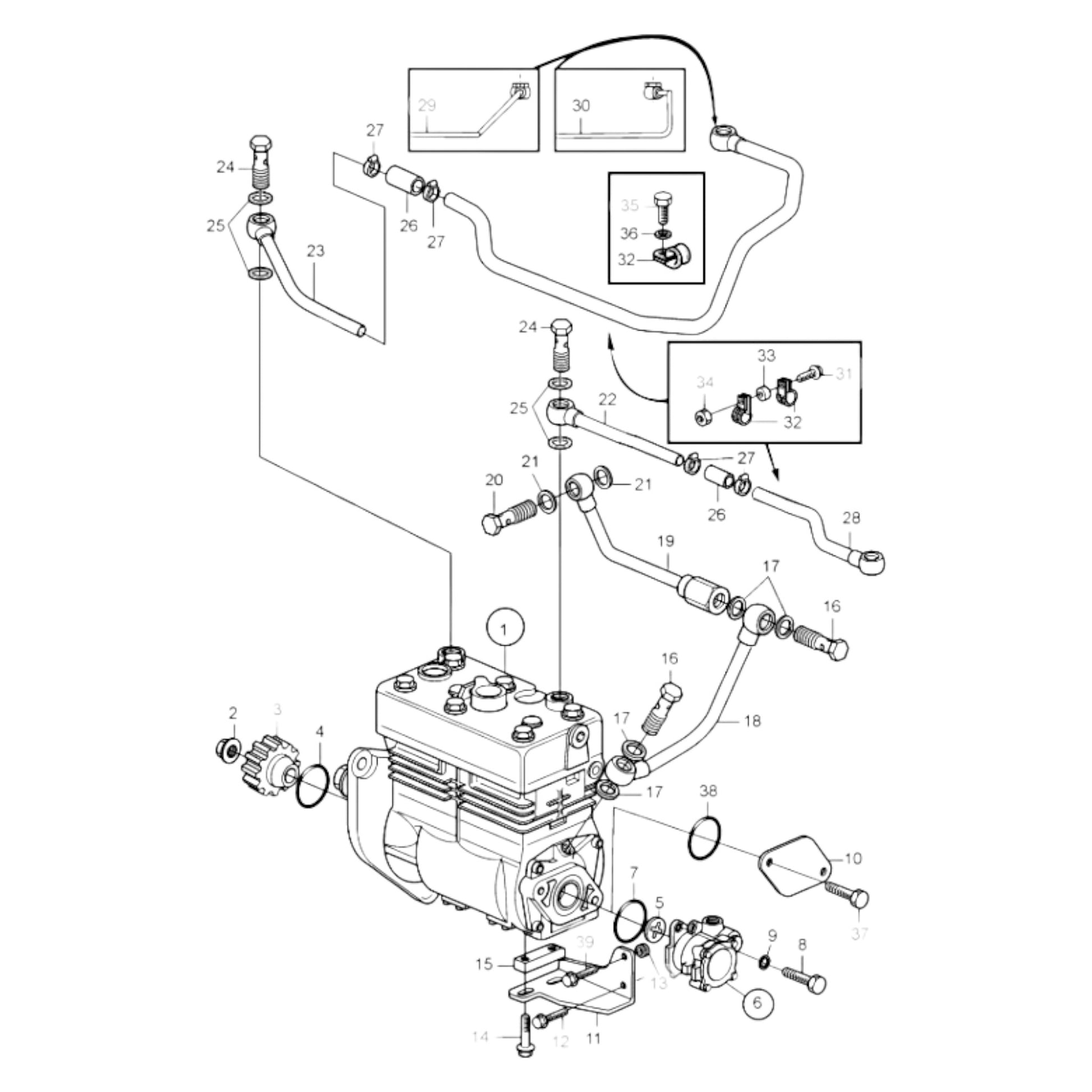
20942758 - Gear
20942758 - Gear
Regular price
AED1,789.00
Regular price
Sale price
AED1,789.00
Unit price
/
per
Shipping calculated at checkout.
Couldn't load pickup availability
Gear
Used in Volvo Penta, Volvo trucks, and various Volvo engines.
Share
